Η Apple επενδύει επάνω στην ξεχωριστή σχέση ανάμεσα στους χρήστες και τα προϊόντα της. Αυτό είναι γεγονός. Το έχουμε δει. Το έχουμε νιώσει. Κάθε φορά που κρατάμε στα χέρια μας ένα iPhone, ένα iPod, ένα MacBook… το αίσθημα παραμένει το ίδιο. Δεν θέλεις να το αφήσεις από τα χέρια σου.

Η νέα πατέντα της Apple αναμένεται να επιδεινώσει το “πρόβλημα” και να μας κάνει να μην ξεκολάμε από τα mobile προϊόντα της καθώς αναφέρεται σε προσθήκη διαφόρων αισθητήρων από διαδραστικούς και αισθητήρες αφής μέχρι ακουστικούς κ.α
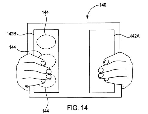
”Hand held devices with multiple touch sensing devices are disclosed. The touch sensing devices may for example be selected from touch panels, touch screens or touch sensitive housings.”

Η νέα πατέντα μπορεί να υλοποιηθεί με διάφορες μορφές, όπως εναλλαγή του τρόπου εμφάνισης των εικονιδιών στην οθόνη και της μεθόδου πλοήγησης στο μενού ανάλογα με τον τρόπο με τον οποίο κρατάει την συσκευή ο χρήστης ή ακόμη και αναγνώριση των χρηστών (!).
Επιστημονική φαντασία; Ίσως… Από την άλλη, φανταζόσασταν πριν από 5 χρόνια ότι θα κρατάτε μία touch-screen συσκευή όπως το iPhone στο χέρι σας; Μάλλον όχι :-)
Συζήτηση στο forum: Σένσορες, σένσορες, σένσορες… παντού!
More from Apple
Ο Jony Ive αποχωρεί από την Apple!
Ο Jony Ive, ίσως ο διασημότερος product designer στον χώρο της τεχνολογίας και αδιαμφισβήτητα το διασημότερο στέλεχος της Apple μετά τους Steve Jobs και Tim Cook, ανακοίνωσε ότι αποχωρεί από την εταιρεία για να ιδρύσει το δικό του creative studio! Ο Jony Ive ξεκίνησε την καριέρα του …
Apple και Qualcomm τα βρήκαν με μεγάλο χαμένο… την Intel!
Πριν από μερικές ώρες βγήκε η είδηση ότι οι Apple και Qualcomm έλυσαν τις διαφορές τους και μάλιστα ανακοίνωσαν νέα συνεργασία. Αυτή η λύση, ωστόσο, είχε αλυσιδωτές αντιδράσεις στη βιομηχανία και η σημαντικότερη ήταν η σχεδόν άμεση ανακοίνωση της Intel πως ακυρώνει τα σχέδια της …
To AirPower “τρώει ΑΚΥΡΟ” από την Apple
Το περιμέναμε 1.5 χρόνο και τελικά... ακυρώθηκε! Το AirPower αποτελεί και επίσημα το 1ο προϊον που η Apple παρουσίασε επίσημα (το Σεπτέμβριο του 2017) και τελικά δεν κυκλοφόρησε ποτέ, καθώς όπως αποδείχτηκε ήταν πολύ δύσκολο να κατασκευαστεί. Όπως αναφέρει σε σχετική δήλωση …
Θα δούμε την Apple Card σύντομα στην Ελλάδα;
Ίσως η σημαντικότερη από τις ανακοινώσεις της Apple στην εκδήλωση της 25ης Μαρτίου να ήταν τελικά η δική της πιστωτική κάρτα Apple Card. Ιδιαίτερα αν επαληθευτεί η είδηση ότι η Goldman Sachs εξετάζει σοβαρά το ενδεχόμενο να επεκτείνει τη χρήση της σε όλο τον κόσμο. Ο …
Apple TV+: Αυτή είναι η απάντηση της Apple προς το Netflix
Οι φήμες των προηγούμενων μηνών επιβεβαιώθηκαν με τον καλύτερο τρόπο, με την Apple να κυρήσσει τον "πόλεμο" στα Netflix, Amazon Prime Video, Disney+ κλπ. με τη δική της υπηρεσία streaming: το Apple TV+! Η εταιρεία επιστράτευσε επί σκηνής πληθώρα διασημοτήτων από τον χώρο του …
1 Comment
[…] This post was mentioned on Twitter by iPhoneHellas, iPhone Hellas and Pantelis Chatzikonst, Pantelis Chatzikonst. Pantelis Chatzikonst said: RT @iphonehellas: Σένσορες, σένσορες, σένσορες… παντού!: Η Apple επενδύει επάνω στην ξεχωριστή σχέση ανάμεσα… http://goo.gl/fb/xXDIW […]