Δύο νέες πατέντες που κατέθεσε η Apple δείχνουν ότι ίσως δούμε το accelerometer να χρησιμοποιείται για τον έλεγχο του iPod καθώς και ένα νέο επαναστατικό dock για το iPhone και iPod.
iPod accelerometer controls
Ήδη έχουμε δει το accelerometer να χρησιμοποιείται σε όλα τα iPhone και iPod touch και στο iPod nano του 2008 και όλα δείχνουν πως θα το δούμε και στην υπόλοιπη σειρά των iPod.
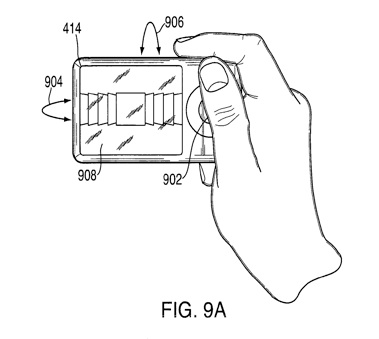
Το accelerometer αποτελεί σημαντικό στοιχείο στο iPhone που είναι μέρος πολλών λειτουργειών ενώ ανεβάζει το gaming σε ένα άλλο επίπεδο. Η νέα πατέντα της Apple περιγράφει έναν τρόπο όπου ο χρήστης θα μπορεί να ελέγχει το iPod με το να κουνάει τη συσκευή.

Θα μπορεί να μετακινείται στη λίστα των τραγουδιών, στο cover flow και να ελέγχει το περιεχόμενο του playback όλα αυτά με την φυσική κίνηση της συσκευής.
“The physical stimuli can take any form, including an acceleration event, such as a flicking motion. The present invention can utilize an accelerometer to detect and measure the acceleration event, and even determine the direction and magnitude of the acceleration event.”

iPhone/iPod Universal Dock
Η άλλη πατέντα που βλέπουμε δείχνει ένα νέο universal dock το οποίο θα χρησιμοποιεί ένα νέο ελαστικό υλικό (σαν σφουγγάρι) στον πάτο έτσι ώστε να μπορεί να χρησιμοποιηθεί με οποιαδήποτε συσκευή τοποθετηθεί πάνω του ανεξάρτητα από το αν θα είναι συσκευή της Apple ή όχι.

Εάν διαθέτετε παραπάνω από μια συσκευή θα μπορείτε πατώντας το κουμπί reset να επαναφέρετε το “σφουγγάρι” στην αρχική του κατάσταση έτσι ώστε να μπορεί να δεχτεί την επόμενη συσκευή. Το νέο αυτό dock μάλιστα θα συνοδεύεται και από ένα τηλεχειριστήριο.

Mπορείτε να διαβάσετε περισσότερα εδώ.
Σίγουρα πρόκειται για δύο πολύ ενδιαφέρουσες πατέντες που ελπίζουμε να δούμε να υλοποιούνται σύντομα.
Συζήτηση στο forum Apple patents: iPod accelerometer controls, new universal dock
[via PatentlyApple, AppleInsider]
You might also like
More from Apple
Ο Jony Ive αποχωρεί από την Apple!
Ο Jony Ive, ίσως ο διασημότερος product designer στον χώρο της τεχνολογίας και αδιαμφισβήτητα το διασημότερο στέλεχος της Apple μετά τους Steve Jobs και Tim Cook, ανακοίνωσε ότι αποχωρεί από την εταιρεία για να ιδρύσει το δικό του creative studio! Ο Jony Ive ξεκίνησε την καριέρα του …
Apple και Qualcomm τα βρήκαν με μεγάλο χαμένο… την Intel!
Πριν από μερικές ώρες βγήκε η είδηση ότι οι Apple και Qualcomm έλυσαν τις διαφορές τους και μάλιστα ανακοίνωσαν νέα συνεργασία. Αυτή η λύση, ωστόσο, είχε αλυσιδωτές αντιδράσεις στη βιομηχανία και η σημαντικότερη ήταν η σχεδόν άμεση ανακοίνωση της Intel πως ακυρώνει τα σχέδια της …
To AirPower “τρώει ΑΚΥΡΟ” από την Apple
Το περιμέναμε 1.5 χρόνο και τελικά... ακυρώθηκε! Το AirPower αποτελεί και επίσημα το 1ο προϊον που η Apple παρουσίασε επίσημα (το Σεπτέμβριο του 2017) και τελικά δεν κυκλοφόρησε ποτέ, καθώς όπως αποδείχτηκε ήταν πολύ δύσκολο να κατασκευαστεί. Όπως αναφέρει σε σχετική δήλωση …
Θα δούμε την Apple Card σύντομα στην Ελλάδα;
Ίσως η σημαντικότερη από τις ανακοινώσεις της Apple στην εκδήλωση της 25ης Μαρτίου να ήταν τελικά η δική της πιστωτική κάρτα Apple Card. Ιδιαίτερα αν επαληθευτεί η είδηση ότι η Goldman Sachs εξετάζει σοβαρά το ενδεχόμενο να επεκτείνει τη χρήση της σε όλο τον κόσμο. Ο …
Apple TV+: Αυτή είναι η απάντηση της Apple προς το Netflix
Οι φήμες των προηγούμενων μηνών επιβεβαιώθηκαν με τον καλύτερο τρόπο, με την Apple να κυρήσσει τον "πόλεμο" στα Netflix, Amazon Prime Video, Disney+ κλπ. με τη δική της υπηρεσία streaming: το Apple TV+! Η εταιρεία επιστράτευσε επί σκηνής πληθώρα διασημοτήτων από τον χώρο του …
1 Comment
[…] This post was mentioned on Twitter by iPhone Hellas, Olivia Dunnam. Olivia Dunnam said: RT @iphonehellas Apple patents: iPod accelerometer controls, new universal dock: Δύο νέες πατέντες που κατέθÎ.. http://bit.ly/80GEv9 […]